Universal vanntank 110L | Caravan.no

Universal vanntank 110L

Varenr: 611002
Nummer i katalog: 611002
Laget av næringsmiddelgodkjent PE
3 804,-
-+
Bestillingsvare Klikk & Hent (Hokksund)
11 på leverandørlager

Omgående levering om det finns på Klikk & Hent (Hokksund).

Om varen kun er på leverandørlageret har  den 14-21 dagers leveringstid. Varen befinner seg da i Tyskland.

 

  • Klikk & Hent i Hokksund
  • Sikker levering med Posten
  • God kundeservice
Sømløst laget, slagfast, frostsikker.
Godkjent for næringsmidler.
Montering mulig stående, liggende eller hengende.
Eksisterende støtter er lukket og kan åpnes etter behov.
Kan brukes som ferskvanns- eller avløpstanker.
Produsert i Tyskland.
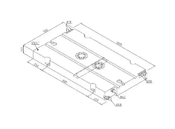
Naturlig farget polyetylen for generell bruk, men spesielt egnet for installasjon i mellomgulv, 2 rengjøringsåpninger Ø 120 mm, 1 innløpsstuss Ø 40 mm, 1 utløpsstuss Ø 40 mm, 6 ventilasjonsstusser Ø 19 mm, kan åpnes etter behov, 2 monteringsforberedelser for målesonder Ø 60 mm, 4 integrerte festeføtter, oversiden er ribbet for stivhet, undersiden utstyrt med skvalpeskott.
Leveringsomfang: 1 vanntank.

Produktinformasjon

Bredde pakket (M) 0,7
Høyde pakket (M) 0,0872
Lengde pakket (M) 1,3
Pakkevekt (KG) 8,72
Side i Reimokatalog 2024 769
Side i Reimokatalog 2025 707


Kit Ducato H2 Skyroof
4 på lev.lager
2 978,-
Vent button + spring + seal
Bestillingsvare (1 dager ubekreftet)
228,-
Plastplugg 30 cm
41%
1 på Klikk & Hent (Hokksund)
39,-
23,-
Polyvision flat 600x450 mm
5 på lev.lager
6 656,-
Polyvision flat 900x500 mm
11 på lev.lager
8 064,-
Viewblocker front 240 cm Thule 4900
50%
20+ på lev.lager
2 550,-
1 275,-